3D Dokunmatik Tetikleyicili Takım Ölçüm Probu
Anasayfa / Tüm Ürünler / CNC Takım Sıfırlama Probları / 3D Dokunmatik Tetikleyicili Takım Ölçüm Probu
S5TS Takım ayarlayıcının faydaları
Japonya, Tayvan, Güney Kore, Çin, Almanya'daki gravür makineleri ve her türlü kontrol makinesi için uygundur. Fanuc, SYNTEC, Baoyuan, Siemens, FAGOR, Mitsubishi vb.
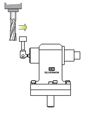
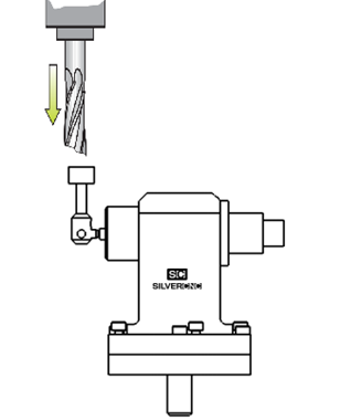
Otomatik Takım Sıfırlama Ayarı
Yükseklik ofsetlerini belirleyin ve takım uzunluğunun tolerans dahilinde olduğunu kontrol edin.
Takım boyutu ofsetlerini belirlemek için döndürme sırasında çapı belirleyin.
Manuel ayar hataları ve veri girişi

Takım uzunluğu ölçümü

Takım yarıçapı ölçümü
Proses içi kontrol
İşlem sırasında kırık takımların tespiti
İşleme adımları arasındaki ölçümler kullanılarak takım aşınmasının telafisi.

Takım aşınma ölçümü

Takım kırılma kontrolü
S5TS Takım Sıfırlama Probu Özellikleri
Mükemmel mekanik yapısı:
Takım ayarlayıcı, uzun süre stabil bir şekilde çalışabilen kanıtlanmış bir teknoloji olan kinematik direnç prensibini (Renishaw ile aynı) kullanır .
Kırk yılı aşkın süredir kendini kanıtlamış bu tasarım, doğruluk ve güvenilirliği garanti altına almak için çoğu makine üreticisi ve son kullanıcı için ana tercih olmuştur.
Prob mekanizmasının tetiklemeden sonra 1,00 µm'ye kadar tekrar yerine oturabilme özelliği, tekrarlanabilirlik ve iyi ölçüm için temel öneme sahiptir.
Basit uzunluk ve yarıçap kontrolünden kırık takım tespitine kadar, bu teknoloji SilverCNC dokunmatik prob ve temaslı takım sıfırlama problarında mevcuttur.
Takım uzunluğu ve takım çapının çift fonksiyonlu ölçümü
Dönme gerektirmeyen montaj masalarına sahip her türlü CNC Makina için uygundur.


S5TS Takım Sıfırlama Probunun Teknik Parametreleri



